平成27年1月29日判決(知財高裁平成25年(ネ)10098号)特許権侵害差止等請求控訴事件
原審平成15年10月17日判決(大阪地裁平成24年(ワ)第3276号)特許権侵害差止等請求事件
【判旨】
本件特許発明は、原出願明細書に開示された技術的事項を上位概念化するものであって,原出願明細書に実質的にも記載されているということはできず、分割要件に違反するものであるから,本件特許に係る出願日は原出願の時まで遡及せず,本件特許発明は,原出願公開公報に記載された発明と同一であり,本件特許は特許法123条1項2号,29条1項3号に基づき,特許無効審判により無効となる。
【キーワード】
分割出願、特許法44条、補正、新規事項の追加、大阪地方裁判所平成25年10月17日判決
【事案の概要】
- 本件は,発明の名称を「角度調整金具」とする特許権(特許番号第4895236号。本件特許権)について専用実施権を有する控訴人Xが,被控訴人YによるY製品は,本件特許権の特許請求の範囲の請求項1に記載された発明(本件特許発明)の技術的範囲に属し,Y製品の製造,販売等は本件特許権を侵害する行為であると主張し,Yに対し,特許法100条1項に基づき,Y製品の製造及び販売等の差止めを求めるとともに,同条2項に基づき,Y製品及びその部品等の廃棄を求め,併せて,本件特許権の侵害による損害賠償請求権(民法709条)に基づき,損害賠償金3000万円(特許法102条2項に基づく損害額2500万円及び弁護士等費用500万円)の支払を求めた事案である。
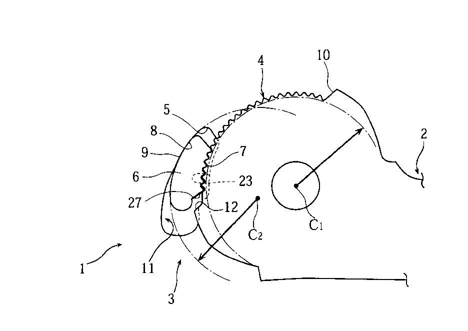
本件特許発明は、座椅子の関節部材に関する発明であり、ラチェットギア機構により、任意の角度で背もたれを固定することができるようになっている。特許請求の範囲の記載における「第1アーム」は座面側のフレームと接続され、「第2アーム」とは背もたれ側のフレームに接続されている。 - Xは、次の本件特許権の専用実施権の設定を受けている。
登録番号 第4895236号
発明の名称 角度調整金具
出願日 平成21年8月5日
分割の表示 特願2005-50055の分割
原出願日 平成17年2月25日
登録日 平成24年1月6日本件特許は、特願2005-50055(以下「原出願」という。)の分割出願として特許出願されたところ、当該出願は新規事項の追加による分割出願違反であるとして拒絶査定を受けたが、Xが上位概念として原出願に包含されており新規事項の追加にあたらない旨を反論した結果、審判により特許すべきものとされた。
- 特許請求の範囲
【請求項1】
A 第1軸心(C1)を中心として相互揺動可能に枢結された第1アーム(1)と第2アーム(2)とを備えた角度調整金具に於て、
B 上記第2アーム(2)は、上記第1軸心(C1)を中心とした円弧線に沿って形成されたギア部(4)を備え、かつ、該ギア部(4)は一枚の板体(40)を所定間隔をもって平行となるように折曲加工して成る2枚のギア板部(45)(45)をもって構成され、
C さらに、上記第1軸心(C1)を中心側とした場合に上記ギア部(4)の外周歯面より外方側位置に、上記外周歯面との間にくさび形の空間部を形成するくさび面(8)を、上記第1アーム(1)側に於て形成し、
D しかも、該くさび形の空間部内に移動可能であって、かつ、一面側が上記ギア部(4)の外周歯面に噛合可能な歯面(7)とされ、他面側が上記くさび面(8)に当接する当接面(9)とされた浮動くさび部材(6)を、備え、
E 上記浮動くさび部材(6)の上記当接面(9)が上記くさび面(8)に当接し、かつ、上記歯面(7)が上記ギア部(4)に噛合し、上記ギア部(4)とくさび面(8)との間に挟まれた浮動くさび部材(6)のくさび作用により、上記第2アーム(2)が上記第1アーム(1)に対して展開方向へ揺動するのを抑制するように構成し、
F さらに、上記浮動くさび部材(6)の左右端面が対応して該浮動くさび部材(6)の左右方向への脱落を防止するための左右側壁(34)(34)を、上記第1アーム(1)側に備え、かつ、
G 上記左右側壁 (34)(34) が橋絡壁をもって橋絡されて横倒略コの字状として、上記左右側壁 (34)(34) と橋絡壁は薄板体から一体ものに形成され、
H 上記2枚のギア板部 (45)(45) を有する上記ギア部(4)に上記浮動くさび部材(6)は、左右幅方向の2箇所で、噛合し、かつ、
I 上記浮動くさび部材(6)の左右方向への移動による脱落を、上記左右側壁 (34)(34) を上記浮動くさび部材(6)の左右端面に対応させて防止するように構成した
J ことを特徴とする角度調整金具。 - 原審の判断原審(大阪地方裁判所平成25年10月17日判決)は、原出願の内容、本件明細書の記載及び出願経過を参酌すると、構成要件Cは、第1アームのケース部自体にくさび形空間部を設けることを意味するものと解すべきであり、このように解する限りにおいて、本件特許の分割出願は適法と認められるとした。そして、Y製品においては、くさび形空間部の形成は、平行に配置された2枚の外壁部の内部に、連結壁、連結壁を付属させた中本体(受け部材)と、中板(保持板)によって形成されており、第1アームのケース部自体に形成されるくさび形空間部によってはおらず、これとは異なる技術的手段によりくさび形の空間部を形成したものと認められるから、構成要件Cを充足しないと判示した。また、均等侵害の成立も否定した。
これに対しXが控訴した。
【争点】
分割要件違反による新規性又は進歩性の欠如の有無が本判決の争点である。
具体的には、原出願の特許請求の範囲、明細書及び図面には「くさび型窓部」を設ける構成が明示されていたにとどまるところ、本件特許権の構成要件Cに記載されているように「くさび型の空間部を形成する」構成として上位概念化された発明が、原出願に包含された発明といえるか否かが問題となった。
【判旨】
「1 当裁判所は,本件出願は分割要件に違反するものであるから,本件特許に係る出願日は原出願の時まで遡及せず,本件特許発明は,その出願前に頒布された刊行物である原出願公開公報に記載された発明と同一であり,本件特許は特許法123条1項2号,29条1項3号に基づき,特許無効審判により無効にされるべきものであると認められるから,控訴人は,被控訴人に対し,本件特許権についての専用実施権を行使することができず(同法104条の3第1項),控訴人の本訴請求はいずれも理由がないと判断する。
その理由は以下のとおりである。」
「・・・原出願明細書には、一面側が第2アームのギア部に噛合可能な歯面とされ他面側が当接面とされた浮動くさび部材の当接面を第1アームに形成されるくさび形窓部によってその外方側に形成されるくさび面に当接させ,かつ,浮動くさび部材の歯面をギア部に噛合させるという構成により,浮動くさび部材におけるくさび面との当接力,浮動くさび部材とギア部との噛合及びこれらにより作用するギア部の中心に向かう圧迫力を利用して,第1アームに対する第2アームの展開方向への揺動を抑止するという技術思想が開示されているものと認められるが,「くさび面」を「第1アームに形成されるくさび形窓部によってその外方側に形成される面」とする構成以外の構成については,記載も示唆もない。
したがって,原出願明細書の記載に接した当業者であれば,原出願明細書記載の課題を解決する手段として,・・・(上記技術思想を)・・・利用することができるものと認識,理解するのが自然であるといる。そうすると,当業者が,原出願明細書の記載から,浮動くさび部材の当接面が当接する「くさび面」を,第1アームのケース部にくさび形窓部を形成しないで,異なる構成や部材により形成することで課題を解決することを理解し,かかる解決手段の構成を想定することができたとまでは認められない。 」
「そして,本件特許発明の「くさび面(8)」は,①第1軸心を中心側とした場合にギア部の外周歯面より外方側位置に形成され,②ギア部の外周歯面との間にくさび形の空間部を形成し,かつ,③第1アーム側に形成されるものを意味し,本件特許発明は,第1アームのケース部にくさび形窓部を形成することによりくさび面を設けるという形態のみならず,これを設けずに第1アームとは異なる部材により形成する等の他の形態をも含むものと解されるから,原出願明細書に開示された技術的事項を上位概念化するものであって,上位概念化された上記技術的事項が原出願明細書に実質的にも記載されているということはできない。
ウ 以上によれば,本件出願は,原出願との関係で,特許法44条1項の「二以上の発明を包含する特許出願」から分割した「新たな出願」に該当しない不適法なものというべきである。そうすると,本件特許に係る出願日は,原出願の時まで遡及することはなく,現実の出願日である平成21年8月5日となる。」
「⑹ 原出願公開公報に基づく新規性の欠如について
本件特許発明の構成要件Cの「くさび面(8)」は,前記⑶ウ記載のとおり,①第1軸心を中心側とした場合にギア部の外周歯面より外方側位置に形成され,②ギア部の外周歯面との間にくさび形の空間部を形成し,かつ,③第1アーム側に形成されるものを意味するものと解されるが,原出願明細書に記載された「第1アームのケース部に形成されるくさび形窓部によってその外方側に形成されるくさび面」は上記①ないし③を充たし,本件特許発明の構成要件Cの「くさび面(8)」に含まれるから,本件特許発明の構成要件Cは原出願明細書に記載されているものと認められる。
また,本件特許発明の他の構成要件も,いずれも原出願明細書に記載されているものと認められる(引用略)。
そして,原出願明細書は,原出願公開公報(甲5)に記載されているから,本件特許発明は,その出願前に日本国内において頒布された刊行物である原出願公開公報に記載された発明と同一であると認められる。
よって,本件特許は,特許法123条1項2号,29条1項3号により,特許無効審判により無効にされるべきものと認められる。」
(別紙)図面目録(抜粋)
【図2】

※裁判所ホームページより
【図3】 
※裁判所ホームページより
【図4】

※裁判所ホームページより
- 【解説】
- 本件では、分割出願における新規事項の追加の有無、すなわち本件特許が、原出願に包含されない発明を内容とするものであるかどうか(分割要件違反)が問題となった。
原判決は、本件特許発明の構成要件Cを限定的に解釈する限りにおいて分割要件を満たすとした上で、限定解釈後の構成要件CをY製品は充足しないとした。これに対し、控訴審である本判決では、本件特許には分割要件違反の無効事由があると判断したものである。なお、Xが本件特許を出願する過程においても、新規事項の追加による分割出願違反として拒絶査定を受けたが、審判で特許すべき旨の審決が出されている。 - 特許法44条1項は、分割出願に関し「特許出願人は・・・二以上の発明を包含する特許出願の一部を一又は二以上の新たな特許出願とすることができる。」と規定している。分割の元となる出願(以下「元の出願」という。)に発明が「包含」されているか否かにつき具体的にどのように判断していけばよいのかという点は、条文に規定されていない。
まず、出願書類のうち、いずれの項目に記載されていれば「包含」されているといえるかについては、判例によれば、元の出願の「特許請求の範囲」に記載されている発明に限定されるものではなく、明細書又は図面に記載された発明であってもよいとされている(最高裁判所昭和55年12月18日判決)。
次に、原出願の明細書等において記載された事項から、どの程度まで変更することが許されるかについては、明細書等の記載に新規事項を追加するような形で分割することは許されないと解されている。補正に関しては、新規事項の追加が禁止されているが(特許法17条の2第3項)、出願の分割は補正に似た機能を持っているため、分割要件を緩くすれば、補正の制限を潜脱するような分割がなされてしまうおそれがあるからである(特許・実用新案審査基準第Ⅴ部第1章第1節2.2参照。)。東京地方裁判所平成11年12月21日判決は「分割出願が適法なものとして特許法44条2項による出願日の遡及が認められるためには・・・分割出願が原出願について補正のできる範囲で行われることが、必要と解される。けだし、分割出願に出願日遡及の効果が認められている以上、このように解さなければ、本来許されないはずの補正が分割の方法を用いることによって実質的に可能になるという、不当な結果を招くからである。」と判示している。 - 特許法において、補正の範囲は「願書に最初に添付した明細書、特許請求の範囲又は図面・・・に記載した事項の範囲内においてしなければならない。」(特許法17条の2第3項)とされている。そして新規事項の追加にあたるか否かの判断は、「願書に最初に添付した明細書又は図面に現実に記載されているか、記載されていなくとも、現実に記載されているものから自明であるかいずれかの事項に限られるというべきである。そして、そこで現実に記載されたものから自明な事項であるというためには、現実には記載がなくとも、現実に記載されたものに接した当業者であれば、だれもが、その事項がそこに記載されているのと同然であると理解するような事項であるといえなければならず、その事項について説明を受ければ簡単に分かる、という程度のものでは、自明ということはできないというべきである。」とされている(東京高等裁判所平成15年7月1日判決)。分割出願の場合も同じように判断されると解されるが、とりわけ分割に際して上位概念化するような場合には、大幅に権利の範囲が広くなることがあり、第三者に不測の損害を生じさせる可能性が高いことから、より一層、原出願の明細書等の記載から自明であることが求められよう。
- 控訴審判決では、原出願公開公報を公知文献とした上で、本件特許発明の新規性を否定している。しかし、本件特許発明は原出願に記載の発明を上位概念化するものであり、原出願に記載がなかった新規事項であるがゆえに分割要件違反が認定されたのである。よって、本判決が、本件特許発明の構成要件Cが原出願の明細書等に記載されている(29条1項3号)として新規性を否定した部分は、論理矛盾があるように思われる。
もっとも、仮に、下位概念である「くさび型窓部」と上位概念である「くさび型空間部」との違いを相違点として認定し、進歩性の問題として捉えるとしても、やはり整合が取れなくなるおそれがある。無効の結論を導くためには容易想到とするか、あるいは設計事項であると認定することになるが、上位概念化の場合に容易想到、あるいは設計事項ということは、すなわち当業者からすれば原出願書類に実質的に開示されていたに等しいことになりかねないからである(実施例追加型の場合にはこのような問題は生じない。)。
いずれにせよ、本件のような、上位概念化による新規事項の追加のケースでは、控訴審のように無効の抗弁として処理するよりも、一審判決のように構成要件を限定的に解釈した上で充足性を否定する方がより無難と思われる。
(文責)弁護士 山口建章

